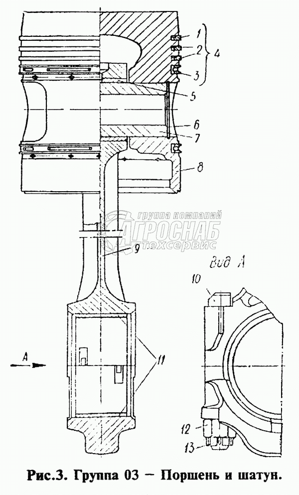
Каталог запасных частей к технике: СМД 14 (1998 г. Минск). Поршень и шатун

Поршень и шатун

zoom-in zoom-out enlarge shrink circle-right circle-left file-text2 info cart
1
2
3
4
5
6
7
8
9
10
11
12
13
Изображение Артикул товара Наименование Наличие Единица измерения Количество Цена Корзина
1
СМД9-0316 Кольцо поршневое компрессионное верхнее Под заказ -
2
СМД9-0309 Кольцо поршневое компрессионное Под заказ -
3
СМД9-0311 Кольцо поршневое маслосъемное Под заказ -
4
14-03С6 Комплект поршневых колец Под заказ -
5
СМД9-0304 Втулка шатуна Под заказ -
6
СМД9-0307 Кольцо стопорное Под заказ -
7
СМД9-0306-1 Палец поршневой Под заказ -
8
14-0305-1 Поршень Под заказ -
9
14-03С2Б Шатун в сборе Под заказ -
10
14-0303А Болт шатунный Под заказ -
11
14-03С5 Комплект шатунных вкладышей Под заказ -
12
СМД9-0312 Гайка шатунного болта Под заказ -
13
Ш-3Х25 Шплинт Под заказ -
Содержащиеся в справочниках-каталогах запасные части и детали не предлагаются к продаже, а носят исключительно информационный характер


Наши преимущества