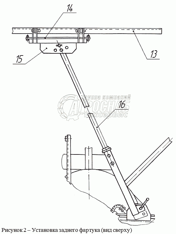
Каталог запасных частей к технике: Бобруйскагромаш ГР-700. Установка заднего фартука (вид сверху)

Установка заднего фартука (вид сверху)

zoom-in zoom-out enlarge shrink circle-right circle-left file-text2 info cart
3
4
5
6
Изображение Артикул товара Наименование Наличие Единица измерения Количество Цена Корзина
1
ГР-700.05.00.601-01 Отвес Под заказ -
2
ГР-700.05.00.401-01 Планка Под заказ -
3
ГР-700.36.04.000 Фартук Под заказ -
4
ГР-700.36.02.000 Рамка Под заказ -
5
ГР-700.04.00.000 Сектор Под заказ -
6
ГР-700.03.00.000 Штанга Под заказ -
Содержащиеся в справочниках-каталогах запасные части и детали не предлагаются к продаже, а носят исключительно информационный характер


Наши преимущества