Каталог запасных частей к технике: Бобруйскагромаш ИРК-145. Муфта предохранительная

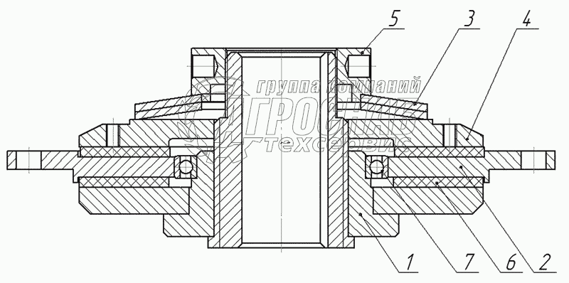
Муфта предохранительная

zoom-in zoom-out enlarge shrink circle-right circle-left file-text2 info cart
1
2
3
4
5
6
7
Изображение Артикул товара Наименование Наличие Единица измерения Количество Цена Корзина
1
ИРК-145.10.02.100 Полумуфта Под заказ -
2
ИРК-145.10.02.401 Диск Под заказ -
3
ПР 07.00.435 Пружина Под заказ -
4
ПР 07.00.437 Диск Под заказ -
5
ПР 07.00.801 Гайка Под заказ -
6
25711 6552 Накладка фрикционная ГОСТ 1786-95 Под заказ -
7
1000814 Подшипник ГОСТ 8338-75 Под заказ -
Содержащиеся в справочниках-каталогах запасные части и детали не предлагаются к продаже, а носят исключительно информационный характер


Наши преимущества