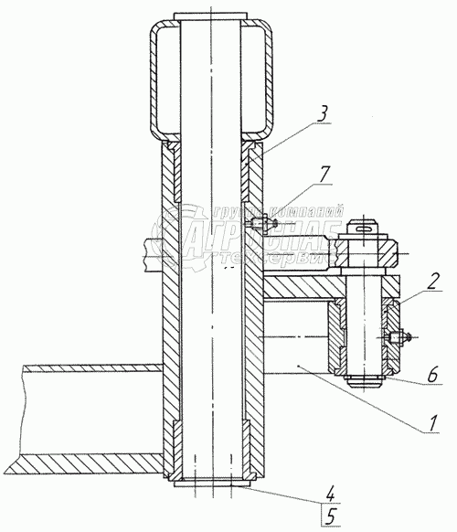
Каталог запасных частей к технике: Бобруйскагромаш ИРК-145. Тяга

Тяга

zoom-in zoom-out enlarge shrink circle-right circle-left file-text2 info cart
1
2
3
4
5
6
7
Изображение Артикул товара Наименование Наличие Единица измерения Количество Цена Корзина
1
ИРК-145.12.04.000 Тяга Под заказ -
2
ИРК-145.12.00.101 Втулка Под заказ -
3
ИРК-145.12.00.101-01 Втулка Под заказ -
4
ИРК-145.12.00.401 Пластина стопорная Под заказ -
5
ИРК-145.12.00.601 Шайба концевая Под заказ -
6
ПР11.00.401 Кольцо Под заказ -
7
1.2 Ц6 Маслёнка ГОСТ 19853-74 Под заказ -
Содержащиеся в справочниках-каталогах запасные части и детали не предлагаются к продаже, а носят исключительно информационный характер


Наши преимущества