Каталог запасных частей к технике: Бобруйскагромаш МТТ-4У. Вал передний

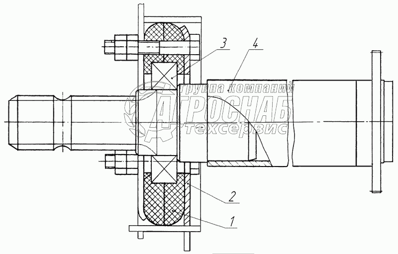
Вал передний

zoom-in zoom-out enlarge shrink circle-right circle-left file-text2 info cart
1
2
3
4
Изображение Артикул товара Наименование Наличие Единица измерения Количество Цена Корзина
1
МТТ-Ф-19.02.00.001 Обойма Под заказ -
2
МТТ-Ф-19.02.00.407 Шайба Под заказ -
3
80209 ГОСТ 7242-81 Подшипник Под заказ -
4
ПРТ-7А.06.01.010 Вал Под заказ -
Содержащиеся в справочниках-каталогах запасные части и детали не предлагаются к продаже, а носят исключительно информационный характер


Наши преимущества