Каталог запасных частей к технике: Бобруйскагромаш ПРЛ-150. Гидрооборудование

Гидрооборудование

zoom-in zoom-out enlarge shrink circle-right circle-left file-text2 info cart
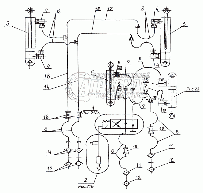
1
2
3
3
4
4
4
4
5
6
6
6
7
7
7
8
8
8
8
9
10
10
11
11
11
12
12
12
13
13
14
15
16
17
18
19
20
20
Изображение Артикул товара Наименование Наличие Единица измерения Количество Цена Корзина
1
ПС-30.07.15.000 Плита Под заказ -
2
ПС-30.07.16.000 Пульт управления Под заказ -
3
ПР22.00.000-02 Гидроцилиндр 3-50х28 Под заказ -
4
РЖТ-12.07.000-01 Угольник ввертной с гайкой Под заказ -
5
Ц40x100.010 Гидроцилиндр Под заказ -
6
РВД.08.21.20.545 Рукав высокого давления армированный Под заказ -
7
РВД.08.21.20.695 Рукав высокого давления армированный ТУ РБ 700091832.014 Под заказ -
8
РВД.08.21.20.2045 Рукав высокого давления армированный Под заказ -
9
ПРЛ-1,5.27.00.015-01 Штуцер Под заказ -
10
Н036.02.002 Штуцер Под заказ -
11
3057-4616330-А Клапан запорного устройства 012 левый Под заказ -
12
3057-4616350-А Клапан запорного устройства 012 правый Под заказ -
13
РЖТ-12.07.000 Угольник ввертной с гайкой Под заказ -
14
ПРЛ-1,5.27.09.030 Трубопровод Под заказ -
15
ПРЛ-1,5.27.09.030-01 Трубопровод Под заказ -
16
ПРЛ-1,5.27.17.030 Трубопровод Под заказ -
17
ПРЛ-1,5.27.17.030-01 Трубопровод Под заказ -
18
ПРЛ-1,5.27.00.003-02 Штуцер Под заказ -
19
ПРЛ-1,5.27.02.030 Тройник Под заказ -
20
011-014-19-2-4 Кольцо Под заказ -
Содержащиеся в справочниках-каталогах запасные части и детали не предлагаются к продаже, а носят исключительно информационный характер


Наши преимущества