Каталог запасных частей к технике: Гомсельмаш КСК-600. Муфта предохранительная КГС 0202100

Муфта предохранительная КГС 0202100

zoom-in zoom-out enlarge shrink circle-right circle-left file-text2 info cart
2
3
4
5
6
7
8
9
10
11
12
13
14
15
16
17
18
19
Изображение Артикул товара Наименование Наличие Единица измерения Количество Цена Корзина
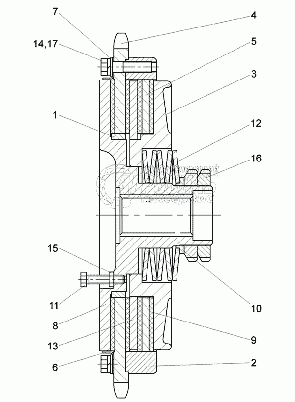
1
КГС 0202110 Ступица Под заказ -
2
КГС 0202100 Муфта фрикционная Под заказ -
3
КГС 0202003 Втулка Под заказ -
4
КГС 0202203 Корпус Под заказ -
5
КГС 0202204 Диск Под заказ -
6
КГС 0202411 Звездочка Под заказ шт 0 ₽
7
КГС 0202412 Диск Под заказ -
8
КГС 0202413 Кожух Под заказ -
9
КГС 0202414 Шайба Под заказ -
10
КГС 0202601-01 Ступица Под заказ -
11
КЗР 0313003 Накладка фрикционная В наличии шт 420 ₽420 ₽
12
КЗР 0313602 Втулка Под заказ -
13
КЗР 0313603А-01 Болт Под заказ -
14
КИС 0202423 Пружина тарельчатая 2-2-2-120х60х4х4-3057 Под заказ шт 2 174 ₽2 174 ₽
15
МКС 0502423 Диск Под заказ -
16
Болт М10-6ех40 – 7796 Болт М10-6ех40 – 7796 Под заказ -
17
Гайка М8-6G – 2526 Гайка М8-6G – 2526 Под заказ -
18
Гайка М56х2-6Н – 11871 Гайка М56х2-6Н – 11871 Под заказ -
19
Шайба 10Т 65Г-6402 Шайба 10Т 65Г-6402 Под заказ -
Содержащиеся в справочниках-каталогах запасные части и детали не предлагаются к продаже, а носят исключительно информационный характер


Наши преимущества