Каталог запасных частей к технике: Гомсельмаш КЗС-1624-1. Электромеханизм подбарабанья КЗК-1420-0701070

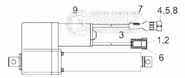
Электромеханизм подбарабанья КЗК-1420-0701070

zoom-in zoom-out enlarge shrink circle-right circle-left file-text2 info cart
2
3
4
5
6
7
8
9
10
Изображение Артикул товара Наименование Наличие Единица измерения Количество Цена Корзина
1
КЗК-1420-0701070 Электромеханизм подбарабанья В наличии шт 81 589 ₽81 589 ₽
2
502602 Колодка штыревая Под заказ -
3
103612 Штырь Под заказ -
4
МОВН1153 Варистор Под заказ -
5
0-0282105-1 Колодка штыревая Под заказ -
6
0-0281934-2 Уплотнитель Под заказ -
7
64221-3724050 Чехол Под заказ -
8
0-0880811-2 Чехол Под заказ -
9
0-0282109-1 Штырь Под заказ -
10
Электромеханизм Электромеханизм Под заказ -
Содержащиеся в справочниках-каталогах запасные части и детали не предлагаются к продаже, а носят исключительно информационный характер


Наши преимущества