Каталог запасных частей к технике: Гомсельмаш KЗС-812. Установка шкива КЗК 0202810А

Установка шкива КЗК 0202810А

zoom-in zoom-out enlarge shrink circle-right circle-left file-text2 info cart
3
4
5
6
7
8
9
10
11
12
13
14
14
15
16
Изображение Артикул товара Наименование Наличие Единица измерения Количество Цена Корзина
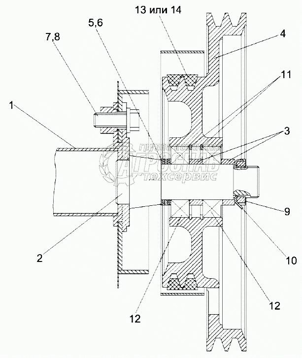
1
КЗК-8А-0202000-01 Очистка Под заказ -
2
КЗК0202810А Шкив Под заказ -
3
КЗК0202270Б-01 Труба Под заказ -
4
КЗК0202790Б Ось Под заказ -
5
КЗК0202818 Втулка Под заказ -
6
КЗК0202115А Шкив Под заказ -
7
КИС0124404 Шайба Под заказ -
8
КИС0143401 Шайба Под заказ -
9
КСН0100636-02 Шайба Под заказ -
10
БолтМ16-6gx40-7798 Болт М16-6gx40-7798 Под заказ -
11
ГайкаМ36х1,5-6H-11871 Гайка М36х1,5-6H-11871 Под заказ -
12
ШайбаН36.01-11872 Шайба Н 36.01-11872 Под заказ -
13
В80-13943 Кольцо В80-13943 Под заказ -
14
180508-8882 Подшипник 180508-8882 Под заказ -
15
2HB4812La Ремень Под заказ -
16
2HBBP4812 Ремень Под заказ -
Содержащиеся в справочниках-каталогах запасные части и детали не предлагаются к продаже, а носят исключительно информационный характер


Наши преимущества