Каталог запасных частей к технике: Гомсельмаш УЭС-280. РВД25-4SP-SAEj518-800-00-900

РВД25-4SP-SAEj518-800-00-900

zoom-in zoom-out enlarge shrink circle-right circle-left file-text2 info cart
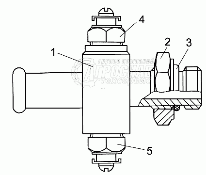
2
3
4
5
6
Изображение Артикул товара Наименование Наличие Единица измерения Количество Цена Корзина
1
УЭС0601520-01 Тройник Под заказ -
2
УЭС0601530 Тройник Под заказ -
3
КИЛ0108602 Контргайка Под заказ -
4
019-023-25-2-2-18829/9833 Кольцо Под заказ -
5
ДУТЖ-01 Датчик ДУТЖ-01 В наличии шт 804 ₽804 ₽
6
ДАТЖ-04 Датчик аварийной температуры жидкости В наличии шт 689 ₽689 ₽
Содержащиеся в справочниках-каталогах запасные части и детали не предлагаются к продаже, а носят исключительно информационный характер


Наши преимущества