Каталог запасных частей к технике: ХТЗ Т-151К. Гидросистема бульдозерного оборудования

Гидросистема бульдозерного оборудования

zoom-in zoom-out enlarge shrink circle-right circle-left file-text2 info cart
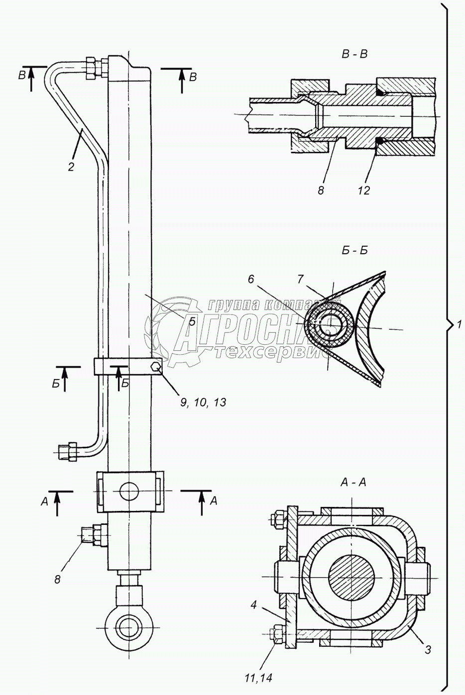
1
2
3
4
5
6
7
8
8
9
10
11
12
13
14
Изображение Артикул товара Наименование Наличие Единица измерения Количество Цена Корзина
1
151Д-1.01.12.000 Гидроцилиндр Под заказ -
2
151Д-1.01.12.010 Трубопровод Под заказ -
3
Д3-42Г.03.04.10 Рамка Под заказ -
4
Д3-42Г.03.04.20 Крышка Под заказ -
5
У4565.80/50.2.000.100 0 Гидроцилиндр Под заказ -
6
Д-535.08.012 Прокладка Под заказ -
7
Д-606.05.00.05 Хомут Под заказ -
8
Д3-42Г.05.00.001 Штуцер Под заказ -
9
М10х35.7796 Болт Под заказ -
10
М10.5915 Гайка Под заказ -
11
М12.5915 Гайка Под заказ -
12
023-028-30-2-2.9833 Кольцо Под заказ -
13
10 65Г.6402 Шайба Под заказ -
14
12 65Г.6402 Шайба Под заказ -
Содержащиеся в справочниках-каталогах запасные части и детали не предлагаются к продаже, а носят исключительно информационный характер


Наши преимущества