Каталог запасных частей к технике: Клевер ГРП-810 "Kolibri Duo". Панель габаритов

Панель габаритов

zoom-in zoom-out enlarge shrink circle-right circle-left file-text2 info cart
1
1
2
2
3
4
5
6
7
8
8
9
9
10
11
11
12
13
14
15
15
Изображение Артикул товара Наименование Наличие Единица измерения Количество Цена Корзина
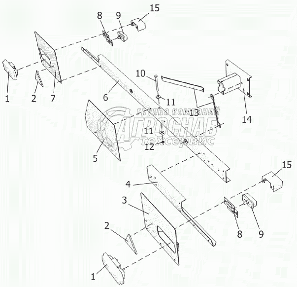
1
ФП1132АБ-04 Фонарь задний Под заказ -
2
ФП 401-0 Световозвращатель Под заказ -
3
142.29.05.160-01 Панель фонарей Под заказ -
4
142.29.05.170 Кронштейн Под заказ -
5
142.29.05.434 Знак Под заказ -
6
142.29.05.080 Панель Под заказ -
7
142.29.05.160 Панель фонарей Под заказ -
8
142.29.05.419 Кронштейн Под заказ -
9
161.3712 Фонарь передний Под заказ -
10
М12-6gх140.88.35.019 Болт Под заказ -
11
С12х2.01.019 Шайба Под заказ -
12
М12 Гайка Под заказ -
13
142.29.05.515 Распорка Под заказ -
14
ГРП-811.01.00.090 Балка Под заказ -
15
ГРП-811.01.00.402 Крышка Под заказ -
Содержащиеся в справочниках-каталогах запасные части и детали не предлагаются к продаже, а носят исключительно информационный характер


Наши преимущества