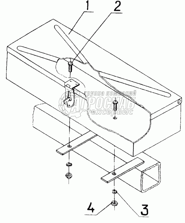
Каталог запасных частей к технике: Красная Звезда СОН-4,2. Крепление инструментального ящика

Крепление инструментального ящика

zoom-in zoom-out enlarge shrink circle-right circle-left file-text2 info cart
3
4
Изображение Артикул товара Наименование Наличие Единица измерения Количество Цена Корзина
1
СПУ06 Ящик инструментальный Под заказ -
2
[Болт М10-6gх20.58.019 ГОСТ7796] Болт М10-6gх20.58.019 ГОСТ7796 Под заказ -
3
[Шайба 10.65Г.019 ГОСТ6402] Шайба 10.65Г.019 ГОСТ6402 Под заказ -
4
[Гайка М10-6Н.6.019 ГОСТ5915] Гайка М10-6Н.6.019 ГОСТ5915 Под заказ -
Содержащиеся в справочниках-каталогах запасные части и детали не предлагаются к продаже, а носят исключительно информационный характер


Наши преимущества