| № | Изображение | Артикул товара | Наименование | Наличие | Единица измерения | Количество | Цена | Корзина | |
|---|---|---|---|---|---|---|---|---|---|
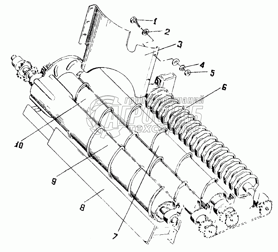
| 1 | СПС19000 | Рассредоточитель | Под заказ | - | |||||
| 2 | [Болт М8-6gх20.58.019 ГОСТ7796-70] | Болт М8-6gх20.58.019 ГОСТ7796-70 | Под заказ | - | |||||
| 3 | [Шайба 08х1,4.02.019 ГОСТ11371-78] | Шайба 08х1,4.02.019 ГОСТ11371-78 | Под заказ | - | |||||
| 4 | СПС19409 | Отсекатель | Под заказ | - | |||||
| 5 | [Шайба 8.65Г.05 ГОСТ6402-70] | Шайба 8.65Г.05 ГОСТ6402-70 | Под заказ | - | |||||
| 6 | [Гайка М8-6Н.6.019 ГОСТ5915-70] | Гайка М8-6Н.6.019 ГОСТ5915-70 | Под заказ | - | |||||
| 7 | СПС19240 | Битер | Под заказ | - | |||||
| 8 | СПС19090 | Шнек | Под заказ | - | |||||
| 9 | СПС19270 | Отражатель | Под заказ | - | |||||
| 10 | СПС19110 | Перебрасыватель | Под заказ | - | |||||
| 11 | СПС19100 | Шнек | Под заказ | - |