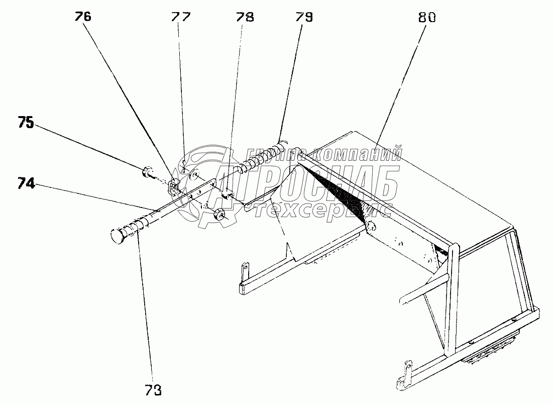
Каталог запасных частей к технике: Красная Звезда СПС-4,2А. Транспортер выгрузной СПТ09000

Транспортер выгрузной СПТ09000

zoom-in zoom-out enlarge shrink circle-right circle-left file-text2 info cart
1
2
1
2
3
4
3
4
5
6
5
6
7
8
7
8
9
10
9
10
11
12
11
12
13
14
13
14
15
16
15
16
Изображение Артикул товара Наименование Наличие Единица измерения Количество Цена Корзина
1
СПС18629 Пружина 1Ш.199.0155 ОСТ23.2.403-72 Под заказ -
2
СПС18629 Пружина 1Ш.199.0155 ОСТ23.2.403-72 Под заказ -
3
СПС18580 Тяга Под заказ -
4
СПС18580 Тяга Под заказ -
5
[Болт М8-6gх25.58.019 ГОСТ7796-70] Болт М8-6gх25.58.019 ГОСТ7796-70 Под заказ -
6
[Болт М8-6gх25.58.019 ГОСТ7796-70] Болт М8-6gх25.58.019 ГОСТ7796-70 Под заказ -
7
СПС18435 Скоба Под заказ -
8
СПС18435 Скоба Под заказ -
9
[Шплинт 2,5х14.019 ГОСТ397-79] Шплинт 2,5х14.019 ГОСТ397-79 Под заказ -
10
[Шплинт 2,5х14.019 ГОСТ397-79] Шплинт 2,5х14.019 ГОСТ397-79 Под заказ -
11
СПС18839 Труба 14х1,4-10В ТУ14-3-1Н81-83 (L=7мм) Под заказ -
12
СПС18839 Труба 14х1,4-10В ТУ14-3-1Н81-83 (L=7мм) Под заказ -
13
СПС18633 Пружина 1Ш.156.0118 ОСТ23.2.403-72 Под заказ -
14
СПС18633 Пружина 1Ш.156.0118 ОСТ23.2.403-72 Под заказ -
15
СПТ09090 Козырек Под заказ -
16
СПТ09090 Козырек Под заказ -
Содержащиеся в справочниках-каталогах запасные части и детали не предлагаются к продаже, а носят исключительно информационный характер


Наши преимущества