Каталог запасных частей к технике: Красная Звезда ССТ-12В. Щелеватель ССШ 06.180-01

Щелеватель ССШ 06.180-01

zoom-in zoom-out enlarge shrink circle-right circle-left file-text2 info cart
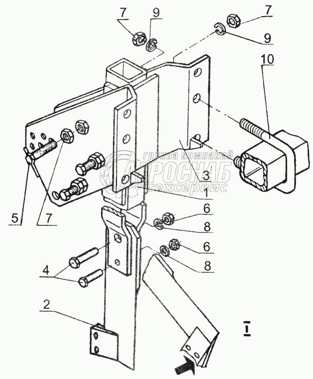
1
2
3
4
5
6
6
7
7
7
8
8
9
9
10
Изображение Артикул товара Наименование Наличие Единица измерения Количество Цена Корзина
1
ССЩ 06.080 Стойка Под заказ -
2
ССЩ 06.160 Бороздорез Под заказ -
3
ССЩ 06.170 Кронштейн Под заказ -
4
Болт М12-6дх55.019 ГОСТ 7796-70 Болт М12-6дх55.019 ГОСТ 7796-70 Под заказ -
5
Винт В.М16-6gх55.33.Н019 ГОСТ 1483-84 Винт В.М16-6gх55.33.Н019 ГОСТ 1483-84 Под заказ -
6
Гайка М12-6Н.6.019 ГОСТ 5915-70 Гайка М12-6Н.6.019 ГОСТ 5915-70 Под заказ -
7
Гайка М16-6Н.6.019 ГОСТ 5915-70 Гайка М16-6Н.6.019 ГОСТ 5915-70 Под заказ -
8
Шайба 12 65Г 019 ГОСТ 6402-70 Шайба 12 65Г 019 ГОСТ 6402-70 Под заказ -
9
Шайба 16 65Г 019 ГОСТ 6402-70 Шайба 16 65Г 019 ГОСТ 6402-70 Под заказ -
10
Скоба 2М1 6х98х110/30.56.Ц9хр ОСТ 23.2.10-81 Скоба 2М1 6х98х110/30.56.Ц9хр ОСТ 23.2.10-81 Под заказ -
Содержащиеся в справочниках-каталогах запасные части и детали не предлагаются к продаже, а носят исключительно информационный характер


Наши преимущества