Каталог запасных частей к технике: Красная Звезда СУПН-12А. Сошник туковый

Сошник туковый

zoom-in zoom-out enlarge shrink circle-right circle-left file-text2 info cart
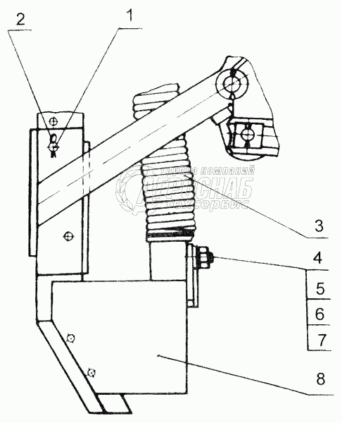
1
2
3
4
5
6
7
8
Изображение Артикул товара Наименование Наличие Единица измерения Количество Цена Корзина
1
СУПК 00.6049А Штырь Под заказ -
2
С54.602-01 Шплинт пружинный (477310267808) Под заказ -
3
Н 042.13.000 Тукопровод Под заказ -
4
Болт М8х20.58.019 ГОСТ 7802-81 Болт М8х20.58.019 ГОСТ 7802-81 Под заказ -
5
Гайка М8-6Н.6.019 ГОСТ 5915-70 Гайка М8-6Н.6.019 ГОСТ 5915-70 Под заказ -
6
Шайба 8 65Г 019 ГОСТ 6402-70 Шайба 8 65Г 019 ГОСТ 6402-70 Под заказ шт 0 ₽
7
Шайба С8.01.10.019 ГОСТ 11371-78 Шайба С8.01.10.019 ГОСТ 11371-78 Под заказ -
8
СУПК 00.2890 Сошник туковый Под заказ -
Содержащиеся в справочниках-каталогах запасные части и детали не предлагаются к продаже, а носят исключительно информационный характер


Наши преимущества