Каталог запасных частей к технике: Красная Звезда СУПН-8. Стабилизатор СУПА 02.270

Стабилизатор СУПА 02.270

zoom-in zoom-out enlarge shrink circle-right circle-left file-text2 info cart
1
2
3
4
5
10
6
7
8
9
5
10
11
12
13
14
15
16
Изображение Артикул товара Наименование Наличие Единица измерения Количество Цена Корзина
1
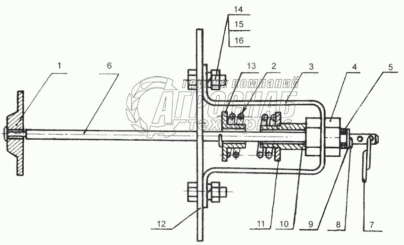
СУПА 02.607 Клапан Под заказ -
2
552.6.060 Пружина Под заказ -
3
СУПА 02.407 Скоба Под заказ -
4
Гайка М16-6Н.6.019 ГОСТ 5915 Гайка М16-6Н.6.019 ГОСТ 5915 Под заказ -
5
СУПА 02.609 Втулка Под заказ -
6
СУПА 02.604 Ось Под заказ -
7
Н-109.03.603 Кольцо Под заказ -
8
Н-126.13.623 Шплинт пружинный (479163316400) Под заказ -
9
Шайба С.8х1,4.01. 10.019 ГОСТ 11371 Шайба С.8х1,4.01. 10.019 ГОСТ 11371 Под заказ -
10
СУПА 02.609 Втулка Под заказ -
11
С10.401-01 Шайба Под заказ -
12
СУПА 02.419 Фланец Под заказ -
13
СУПА 02.605 Втулка Под заказ -
14
Болт М8-6gх20.58.019 ГОСТ 7796 Болт М8-6gх20.58.019 ГОСТ 7796 Под заказ -
15
Гайка М8-6Н.6.019 ГОСТ 5915 Гайка М8-6Н.6.019 ГОСТ 5915 Под заказ -
16
Шайба 8.65Г.019 ГОСТ 6402 Шайба 8.65Г.019 ГОСТ 6402 Под заказ -
Содержащиеся в справочниках-каталогах запасные части и детали не предлагаются к продаже, а носят исключительно информационный характер


Наши преимущества