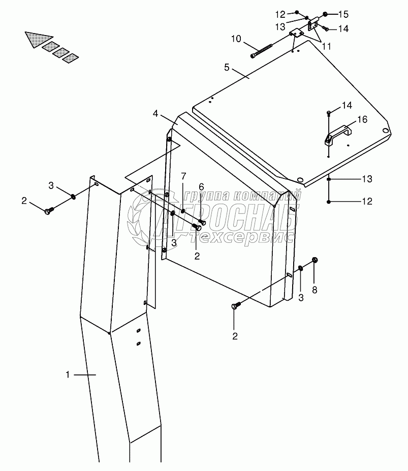
Каталог запасных частей к технике: KRONE BIG-M-I. Valve guard

Valve guard

zoom-in zoom-out enlarge shrink circle-right circle-left file-text2 info cart
1
1
1
2
2
2
3
4
5
6
7
7
8
8
9
9
10
11
Изображение Артикул товара Наименование Наличие Единица измерения Количество Цена Корзина
1
009006340 Hex head bolt Под заказ -
2
009099091 Detent edged washer Под заказ -
3
009002531 Hex head bolt Под заказ -
4
009099081 Detent edged washer Под заказ -
5
009082120 Hex nut Под заказ -
6
002743754 Hinge Под заказ -
7
009087041 Locknut Под заказ -
8
009104111 Washer Под заказ -
9
009006140 Hex head bolt Под заказ -
10
009087060 Locknut Под заказ -
11
009249150 Hand grip Под заказ -
Содержащиеся в справочниках-каталогах запасные части и детали не предлагаются к продаже, а носят исключительно информационный характер


Наши преимущества