Каталог запасных частей к технике: KRONE BIG-X-700-1. Lines main clutch

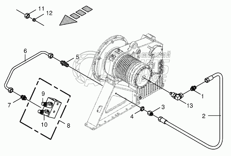
Lines main clutch

zoom-in zoom-out enlarge shrink circle-right circle-left file-text2 info cart
3
4
5
6
7
8
9
10
11
12
13
14
15
Изображение Артикул товара Наименование Наличие Единица измерения Количество Цена Корзина
1
009190700 Solenoid coil Под заказ -
2
270010570 Lip seal Под заказ -
3
009197241 Male connector Под заказ -
4
009209872 High pressure hose line Под заказ -
5
009210831 Reducer fitting Под заказ -
6
009085242 Hex nut-low form Под заказ -
7
009210871 Straight 2-way connector Под заказ -
8
200246400 Hydraulic line-incl. nozzle disc cap, cutting ring Под заказ -
9
009210602 Male connector Под заказ -
10
009191261 Valve block Под заказ -
11
009190280 3/2-Directional-control valve Под заказ -
12
009191411 Pressure regulator-cpl. Под заказ -
13
009212060 Nozzle disc cap Под заказ -
14
009210461 Cutting ring Под заказ -
15
002327910 Oil supply Под заказ -
Содержащиеся в справочниках-каталогах запасные части и детали не предлагаются к продаже, а носят исключительно информационный характер


Наши преимущества