Каталог запасных частей к технике: Lemken EurOpal 9. Skim stalk S 50x30-260 H750

Skim stalk S 50x30-260 H750

zoom-in zoom-out enlarge shrink circle-right circle-left file-text2 info cart
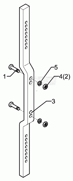
1
2
3
4
5
Изображение Артикул товара Наименование Наличие Единица измерения Количество Цена Корзина
1
301 3779 Bolt Под заказ -
2
303 0935 Selflocking nut Под заказ -
3
463 8641 Skim stalk Под заказ -
4
303 0976 Nut Под заказ -
5
305 9887 Spring ring Под заказ -
Содержащиеся в справочниках-каталогах запасные части и детали не предлагаются к продаже, а носят исключительно информационный характер


Наши преимущества