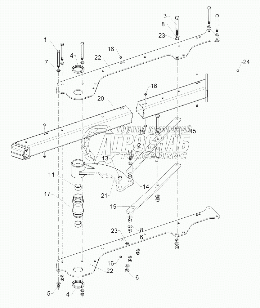
Каталог запасных частей к технике: Lemken Juwel 8M. 60210109 Basic frame

60210109 Basic frame

zoom-in zoom-out enlarge shrink circle-right circle-left file-text2 info cart
1
2
3
4
4
5
6
7
8
9
9
9
10
11
11
Изображение Артикул товара Наименование Наличие Единица измерения Количество Цена Корзина
1
301 4539 Bolt Под заказ -
2
301 4646 Bolt Под заказ -
3
301 4811 Bolt Под заказ -
4
303 0375 Grooved nut Под заказ -
5
303 0977 Nut Под заказ -
6
317 2035 Expansion bush Под заказ -
7
317 3417 Expansion bush Под заказ -
8
317 3404 Expansion bush Под заказ -
9
323 8071 Cap Под заказ -
10
402 1283 Bearing tube Под заказ -
11
317 3406 Expansion bush Под заказ -
12
301 4802 Bolt Под заказ -
Содержащиеся в справочниках-каталогах запасные части и детали не предлагаются к продаже, а носят исключительно информационный характер


Наши преимущества