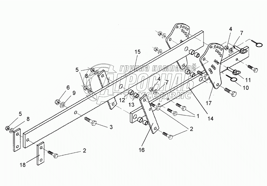
Каталог запасных частей к технике: Lemken Smaragd 9/300. Carrier 120x20x1795-80x20 SM9 U

Carrier 120x20x1795-80x20 SM9 U

zoom-in zoom-out enlarge shrink circle-right circle-left file-text2 info cart
1
2
2
3
3
4
4
5
6
6
7
8
9
10
11
12
13
14
15
Изображение Артикул товара Наименование Наличие Единица измерения Количество Цена Корзина
1
301 3870 Bolt Под заказ -
2
301 4602 Bolt Под заказ -
3
303 0935 Selflocking nut Под заказ -
4
303 0936 Selflocking nut Под заказ -
5
303 0937 Selflocking nut Под заказ -
6
305 6164 Washer Под заказ -
7
305 6274 Washer Под заказ -
8
311 9565 Securing pin Под заказ -
9
313 8140 Pin with grip Под заказ -
10
317 6657 Bush Под заказ -
11
417 8095 Carrier Под заказ -
12
417 8101 Carrier Под заказ -
13
417 8110 Link Под заказ -
14
417 8111 Adjuster plate Под заказ -
15
459 1163 Clamp plate Под заказ -
Содержащиеся в справочниках-каталогах запасные части и детали не предлагаются к продаже, а носят исключительно информационный характер


Наши преимущества