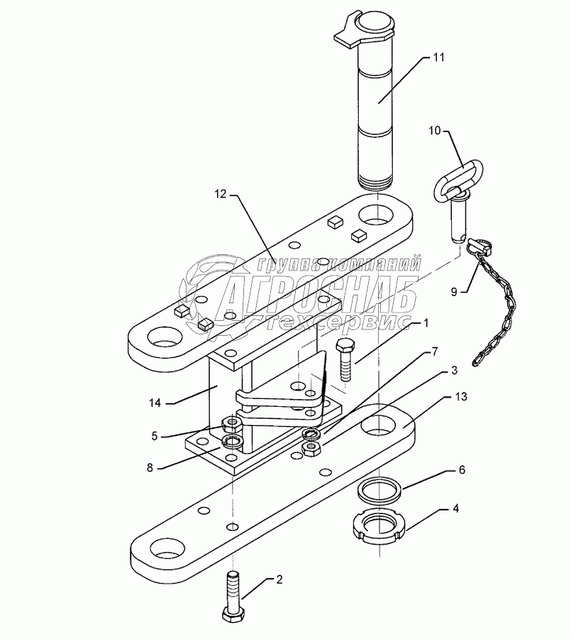
Каталог запасных частей к технике: Lemken Vari-Titan 10. Link D60x240x520 VT10, KPL

Link D60x240x520 VT10, KPL

zoom-in zoom-out enlarge shrink circle-right circle-left file-text2 info cart
1
2
3
4
5
6
7
8
9
10
11
12
13
14
Изображение Артикул товара Наименование Наличие Единица измерения Количество Цена Корзина
1
301 3920 Bolt Под заказ -
2
301 4601 Bolt Под заказ -
3
303 0976 Nut Под заказ -
4
303 0339 Grooved nut Под заказ -
5
303 0978 Nut Под заказ -
6
305 2261 Supporting washer Под заказ -
7
305 9887 Spring ring Под заказ -
8
305 9888 Spring ring Под заказ -
9
311 9295 Securing pin Под заказ -
10
313 2511 Pin with grip Под заказ -
11
313 6031 Pin with stop Под заказ -
12
436 7448 Link Под заказ -
13
436 7449 Link Под заказ -
14
436 7450 Distanzstuck Под заказ -
Содержащиеся в справочниках-каталогах запасные части и детали не предлагаются к продаже, а носят исключительно информационный характер


Наши преимущества