Каталог запасных частей к технике: Lemken Vari-Turmalin 10. Turnbuckle TR30x3/730/520 MVS

Turnbuckle TR30x3/730/520 MVS

zoom-in zoom-out enlarge shrink circle-right circle-left file-text2 info cart
1
2
3
4
5
6
7
8
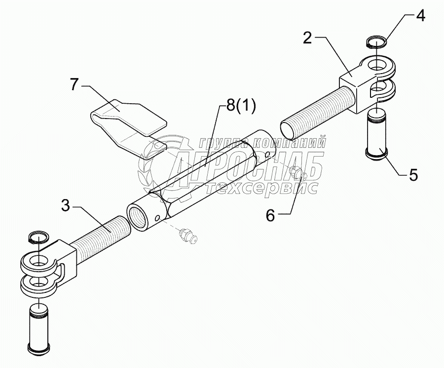
Изображение Артикул товара Наименование Наличие Единица измерения Количество Цена Корзина
1
302 8915 Threaded sleeve Под заказ -
2
302 9000 Forkpiece Под заказ -
3
302 9001 Forkpiece Под заказ -
4
305 8867 Securing ring Под заказ -
5
313 7802 Pin Под заказ -
6
323 6348 Grease nipple Под заказ -
7
329 1792 U-spring Под заказ -
8
302 8787 Threaded sleeve Под заказ -
Содержащиеся в справочниках-каталогах запасные части и детали не предлагаются к продаже, а носят исключительно информационный характер


Наши преимущества