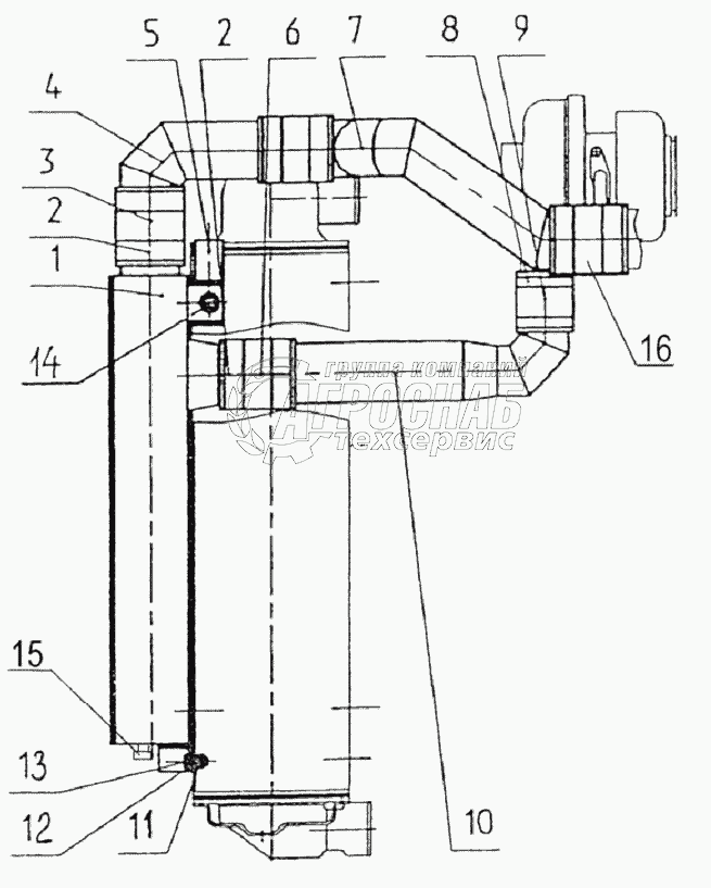
Каталог запасных частей к технике: МТЗ 1220. Установка охладителя

Установка охладителя

zoom-in zoom-out enlarge shrink circle-right circle-left file-text2 info cart
1
2
2
3
6
4
5
3
6
7
8
9
10
11
12
13
14
15
16
Изображение Артикул товара Наименование Наличие Единица измерения Количество Цена Корзина
1
1025-1317100 Охладитель наддувочного воздуха Под заказ -
2
НОРМАGBS71/25W2 Хомут Под заказ -
3
Патрубок60х80 Патрубок Под заказ -
4
1025П-1317600 Воздуховод Под заказ -
5
1025-1317735 Кронштейн Под заказ -
6
Патрубок60х80 Патрубок Под заказ -
7
1025-1317610 Воздухопровод Под заказ -
8
НОРМАGBS61/20W2 Хомут Под заказ -
9
Патрубок50х100 Патрубок силиконовый Под заказ -
10
1025П-1317620 Воздуховод Под заказ -
11
М8-6Н.6.019 Гайка В наличии шт 1 ₽1 ₽
12
С8.01.019 Шайба Под заказ -
13
Шайба8Т Шайба 8Т Под заказ -
14
М8-6gx16.88.35.019 Болт Под заказ -
15
КГ1/4.А12.019 Пробка Под заказ -
16
Патрубок63х80 Патрубок силиконовый Под заказ -
Содержащиеся в справочниках-каталогах запасные части и детали не предлагаются к продаже, а носят исключительно информационный характер


Наши преимущества