Каталог запасных частей к технике: МТЗ 1220.5. Головка соединительная (для двухпроводного пневмопривода)

Головка соединительная (для двухпроводного пневмопривода)

zoom-in zoom-out enlarge shrink circle-right circle-left file-text2 info cart
2
3
4
5
6
7
8
Изображение Артикул товара Наименование Наличие Единица измерения Количество Цена Корзина
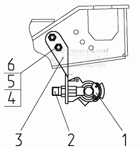
1
1025-3521510 Головка соединительная Под заказ -
2
64226-3521111 Головка соединительная Под заказ -
3
11.3521411-20 Головка соединительная автоматическая Под заказ -
4
1522-3521513 Штуцер Под заказ -
5
1025-3521512 Кронштейн Под заказ -
6
В.М8-6gx25.58.019 Винт Под заказ -
7
М8-6Н.6.019 Гайка В наличии шт 1 ₽1 ₽
8
Шайба Под заказ -
Содержащиеся в справочниках-каталогах запасные части и детали не предлагаются к продаже, а носят исключительно информационный характер


Наши преимущества