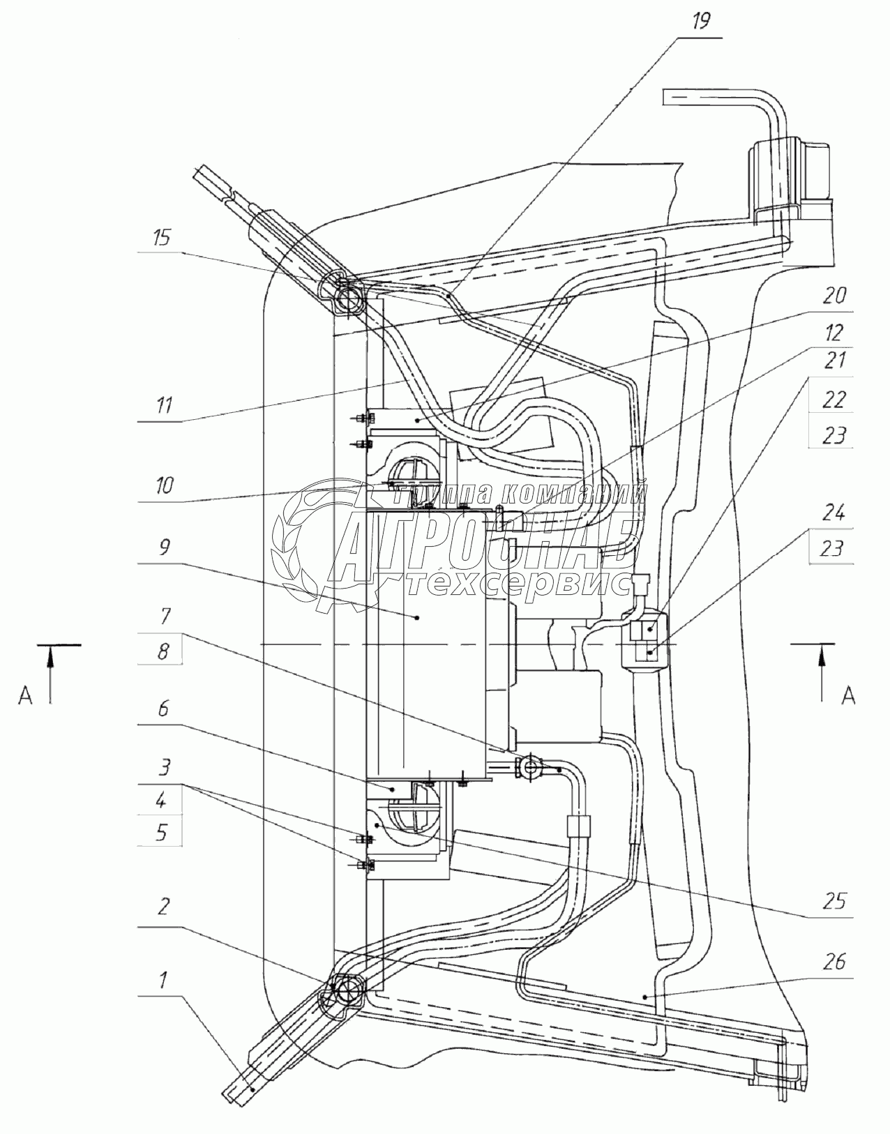
Каталог запасных частей к технике: МТЗ 3022ДЦ.1. Установка отопителя-охладителя (Вариант А)

Установка отопителя-охладителя (Вариант А)

zoom-in zoom-out enlarge shrink circle-right circle-left file-text2 info cart
1
2
3
4
5
6
7
8
9
10
11
12
13
14
15
16
17
18
18
19
20
21
22
23
23
23
Изображение Артикул товара Наименование Наличие Единица измерения Количество Цена Корзина
1
90010GN Шланг N10 Под заказ -
2
90006GN Шланг № 6 90006GN Под заказ -
3
БолтМ8-6gх25.88.35.019 Болт Под заказ -
4
ШайбаС6.01.019 Шайба Под заказ -
5
Шайба6Т Шайба Под заказ -
6
3022-8101020 Кронштейн Под заказ -
7
70110FG027 Фитинг Под заказ -
8
70106FG014 Фитинг Под заказ -
9
U003CF041Е Климатический блок Под заказ -
10
1522-8104100 Дефлектор Под заказ -
11
2822ДЦ-8100014 Шланг Под заказ -
12
Хомут20-32/9-C6W Хомут с червячной резьбой 20-32/9-C6W Под заказ -
13
2822ДЦ-8100014-01 Шланг Под заказ -
14
3022-8101012 Трубка Под заказ -
15
3022-8101020-01 Кронштейн Под заказ -
16
0682164 Выключатель вентилятора Под заказ -
17
067060/1 Табличка темп./скорость Под заказ -
18
068407/0 Ручка элемента управления Под заказ -
19
068011/1 Термостат Под заказ -
20
3022-8101017 Стенка Под заказ -
21
1522-8101110-Б Стенка Под заказ -
22
1522П-8101110 Панель Под заказ -
23
ОТ1522-8101110 Панель Под заказ -
Содержащиеся в справочниках-каталогах запасные части и детали не предлагаются к продаже, а носят исключительно информационный характер


Наши преимущества