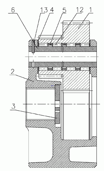
Каталог запасных частей к технике: МТЗ 3022ДЦ.1. Водило

Водило

zoom-in zoom-out enlarge shrink circle-right circle-left file-text2 info cart
2
3
4
5
6
7
8
9
Изображение Артикул товара Наименование Наличие Единица измерения Количество Цена Корзина
1
2522-2407535 Водило Под заказ -
2
2522-2405035 Сателлит Под заказ -
3
2522-2407536-А1 Водило Под заказ -
4
2522-2407537 Шайба Под заказ -
5
2522-2407538 Шайба сателлита Под заказ -
6
2522-2407539 Шайба распорная Под заказ -
7
2522-2407556 Ось сателлита Под заказ -
8
Ролик10х30II Ролик 10х30 II Под заказ -
9
ШтифтA8х4065Г Штифт A8х40 65Г Под заказ -
Содержащиеся в справочниках-каталогах запасные части и детали не предлагаются к продаже, а носят исключительно информационный характер


Наши преимущества