Каталог запасных частей к технике: МТЗ 922.3 / 922.4. Тягово-сцепное устройство

Тягово-сцепное устройство

zoom-in zoom-out enlarge shrink circle-right circle-left file-text2 info cart
2
3
4
5
6
28
7
8
9
10
10
10
11
12
13
14
36
15
16
17
18
19
20
21
22
23
24
25
26
27
6
28
6
28
29
29
30
31
32
33
34
35
14
36
37
38
39
40
41
42
43
44
45
46
Изображение Артикул товара Наименование Наличие Единица измерения Количество Цена Корзина
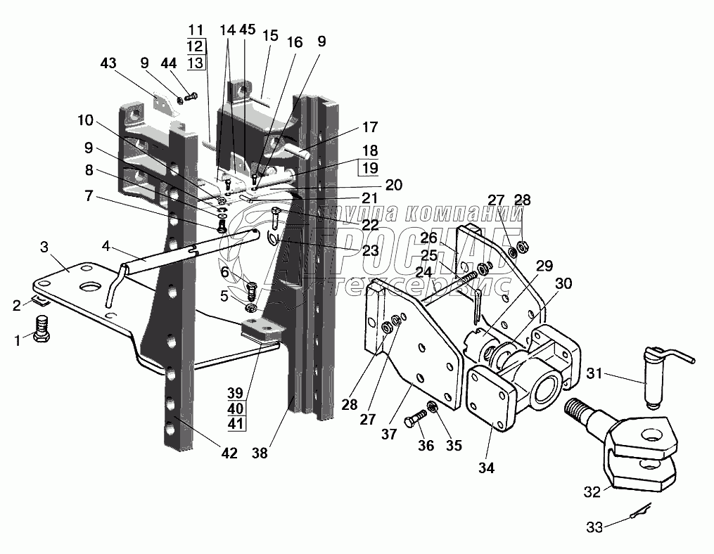
1
1322-2707210 Тягово-сцепное устройство Под заказ шт 0 ₽
2
1321-2707014 Болт Под заказ -
3
1222-2707137 Пластина Под заказ -
4
1321-2707011-Б Плита Под заказ шт 27 375 ₽27 375 ₽
5
1321-2707030 Палец Под заказ шт 4 762 ₽4 762 ₽
6
Шайба16.ОТ Шайба Под заказ -
7
1220-4605506 Болт Под заказ -
8
М6-6gх18.88.35.019 Болт Под заказ -
9
С6.01.019 Шайба Под заказ -
10
Шайба6Т Шайба Под заказ -
11
М6-6Н.6.019 Гайка Под заказ -
12
921-2707068-02 Шпилька Под заказ -
13
М20-6Н.6.019 Гайка Под заказ -
14
Шайба20.ОТ Шайба Под заказ -
15
1321-2707083-Б Скоба Под заказ -
16
921-2707068 Шпилька Под заказ -
17
М6-6gх12.88.35.019 Болт ГОСТ 7796-70 Под заказ -
18
921-2707068-03 Шпилька Под заказ -
19
1322-2707274 Стяжка Под заказ -
20
1322-2707211 Втулка Под заказ -
21
1322-2707280 Щиток в сборе Под заказ -
22
А.6х30.65Г Штифт Под заказ -
23
А61.05.005 Чека Под заказ -
24
А61.05.004 Кольцо Под заказ -
25
1522-2707244 Стяжка Под заказ -
26
6,3х63.019 Шплинт Под заказ -
27
1321-2707070-Б-01 Пластина Под заказ -
28
Шайба16.ОТ Шайба Под заказ -
29
М16-6Н.6.019 Гайка Под заказ -
30
1522-2707243 Гайка Под заказ -
31
1522-2707242 Шайба Под заказ -
32
1522-2707079-А Шкворень Под заказ -
33
921-2707055 Вилка Под заказ -
34
А61.07.001-А Шплинт Под заказ -
35
1321-2707051-Б Кронштейн Под заказ -
36
Шайба20.ОТ Шайба Под заказ -
37
680-2707024 Болт Под заказ -
38
1321-2707070-Б Пластина Под заказ -
39
1322-2707261 Боковина Под заказ шт 0 ₽
40
900-2707135 Пластина Под заказ -
41
900-2707135-01 Пластина Под заказ -
42
900-2707135-02 Пластина Под заказ -
43
1322-2707261-01 Боковина Под заказ шт 0 ₽
44
1322-2707262-01 Кронштейн Под заказ -
45
М6-6gх16.88.35.019 Болт Под заказ -
46
1322-2707262 Кронштейн Под заказ -
Содержащиеся в справочниках-каталогах запасные части и детали не предлагаются к продаже, а носят исключительно информационный характер


Наши преимущества