Каталог запасных частей к технике: МТЗ 922.5. Переключение BOM (независимый/синхронный)

Переключение BOM (независимый/синхронный)

zoom-in zoom-out enlarge shrink circle-right circle-left file-text2 info cart
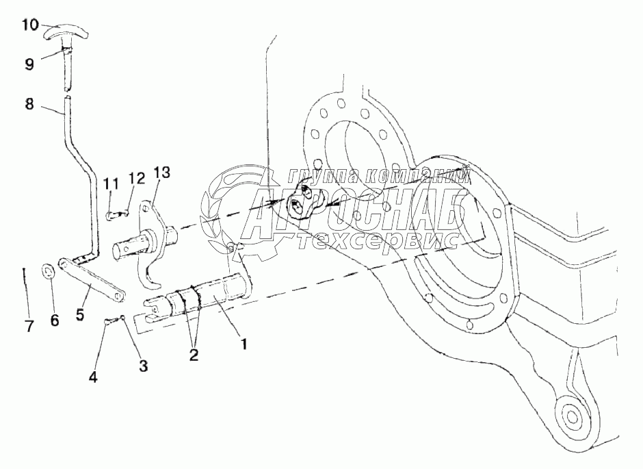
1
2
3
4
5
6
7
8
9
10
11
12
13
Изображение Артикул товара Наименование Наличие Единица измерения Количество Цена Корзина
1
100Х-2401020-01 Валик с поводком Под заказ -
2
020-025-30-1-4 Кольцо Под заказ -
3
Шайба8Т Шайба 8Т Под заказ -
4
М8-6gх20.88.35.019 Болт Под заказ -
5
100X-2401024 Рычаг Под заказ -
6
С8.01.019 Шайба Под заказ -
7
3,2х18.019 Шплинт Под заказ -
8
822-4216081-А Тяга Под заказ -
9
М8-6Н.6.019 Гайка В наличии шт 1 ₽1 ₽
10
50-1310136-A Рукоятка Под заказ -
11
М10-6gх20.88.35.019 Болт Под заказ -
12
Шайба10.ОТ Шайба Под заказ -
13
100X-1602120 Фланец оси Под заказ -
Содержащиеся в справочниках-каталогах запасные части и детали не предлагаются к продаже, а носят исключительно информационный характер


Наши преимущества