Каталог запасных частей к технике: МТЗ-1025.4. Головка соединительная

Головка соединительная

zoom-in zoom-out enlarge shrink circle-right circle-left file-text2 info cart
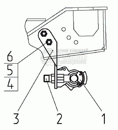
1
2
3
4
5
6
7
Изображение Артикул товара Наименование Наличие Единица измерения Количество Цена Корзина
1
1025-3521510 Головка соединительная Под заказ -
2
64226-3521111 Головка соединительная Под заказ -
3
1522-3521513 Штуцер Под заказ -
4
1025-3521512 Кронштейн Под заказ -
5
В.М8-6gx25.58.019 Винт Под заказ -
6
М8-6Н.6.019 Гайка В наличии шт 1 ₽1 ₽
7
Шайба Под заказ -
Содержащиеся в справочниках-каталогах запасные части и детали не предлагаются к продаже, а носят исключительно информационный характер


Наши преимущества