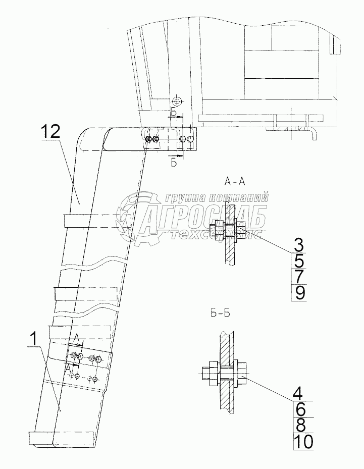
Каталог запасных частей к технике: МТЗ-1523. Подножка

Подножка

zoom-in zoom-out enlarge shrink circle-right circle-left file-text2 info cart
1
2
3
4
5
6
7
8
9
Изображение Артикул товара Наименование Наличие Единица измерения Количество Цена Корзина
1
2522-8405010 Подножка Под заказ -
2
БолтМ10-6gх25.88.35.019 Болт Под заказ -
3
БолтМ12-6gх35.88.35.019 Болт Под заказ -
4
ГайкаМ10-6Н.6.019 Гайка Под заказ -
5
ГайкаМ12-6Н.04.019 Гайка Под заказ -
6
ШайбаС10.01.019 Шайба С10.01.019 Под заказ -
7
ШайбаС12.01.019 Шайба Под заказ -
8
Шайба10.ОТ Шайба Под заказ -
9
Шайба12.ОТ Шайба Под заказ -
Содержащиеся в справочниках-каталогах запасные части и детали не предлагаются к продаже, а носят исключительно информационный характер


Наши преимущества