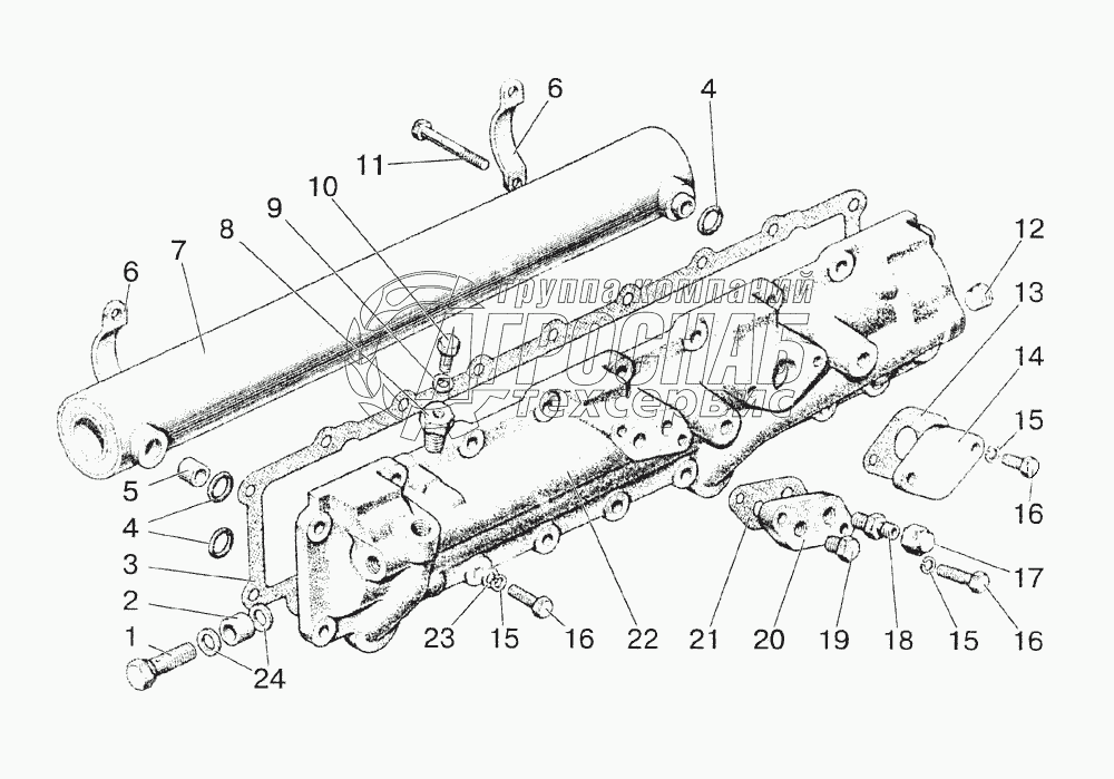
Каталог запасных частей к технике: МТЗ-1523. Теплообменник

Теплообменник

zoom-in zoom-out enlarge shrink circle-right circle-left file-text2 info cart
2
3
4
5
5
6
7
7
8
9
10
11
12
13
14
15
16
16
16
17
17
17
18
19
20
21
22
23
24
25
Изображение Артикул товара Наименование Наличие Единица измерения Количество Цена Корзина
1
260-1013010 Теплообменник в сборе Под заказ -
2
260-1013018 Болт штуцера Под заказ -
3
260-1013013 Втулка Под заказ -
4
260-1013002 Прокладка Под заказ -
5
020-025-30-2-4 Кольцо Под заказ -
6
260-1013024 Штифт Под заказ -
7
260-1013012 Скоба Под заказ -
8
260-1013020-01 Сердцевина Под заказ -
9
260-1013019 Пробка Под заказ -
10
36-1104788 Прокладка Под заказ -
11
240-1003281 Пробка Под заказ -
12
260-1013028 Болт Под заказ -
13
3-КГ3/8" Пробка Под заказ -
14
50-1015598 Прокладка патрубка Под заказ -
15
260-1013016 Фланец Под заказ -
16
ШП8 Шайба Под заказ -
17
М8х25 Болт Под заказ -
18
R143-10-А1 Заглушка штуцера Под заказ -
19
6 Штуцер Под заказ -
20
КГ1/4" Пробка Под заказ -
21
260-10130-14 Фланец Под заказ -
22
260-1013015 Прокладка Под заказ -
23
260-1013011 Крышка теплообменника Под заказ шт 14 540 ₽14 540 ₽
24
ШЧ8 Шайба Под заказ -
25
D18-055-А-012 Кольцо уплотнительное Под заказ -
Содержащиеся в справочниках-каталогах запасные части и детали не предлагаются к продаже, а носят исключительно информационный характер


Наши преимущества