Каталог запасных частей к технике: МТЗ-1523.4. Раскос

Раскос

zoom-in zoom-out enlarge shrink circle-right circle-left file-text2 info cart
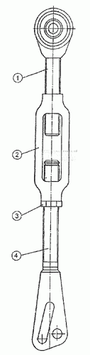
1
2
3
4
5
Изображение Артикул товара Наименование Наличие Единица измерения Количество Цена Корзина
1
1220-4606150 Раскос Под заказ -
2
1220-4606160 Винт Под заказ -
3
А61.02.001 Стяжка раскоса В наличии шт 375 ₽375 ₽
4
А61.02.003 Контргайка Под заказ -
5
70-4605100 Вилка В наличии шт 1 536 ₽1 536 ₽
Содержащиеся в справочниках-каталогах запасные части и детали не предлагаются к продаже, а носят исключительно информационный характер


Наши преимущества