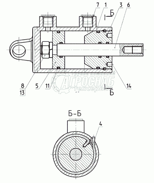
Каталог запасных частей к технике: МТЗ-1523.4. Цилиндр

Цилиндр

zoom-in zoom-out enlarge shrink circle-right circle-left file-text2 info cart
1
2
3
4
5
6
7
8
9
10
11
12
Изображение Артикул товара Наименование Наличие Единица измерения Количество Цена Корзина
1
2102-4216110-Б Цилиндр Под заказ -
2
80-4216115-01 Корпус Под заказ -
3
80-4216116 Крышка передняя Под заказ -
4
80-4216117 Наконечник Под заказ -
5
80-4216118 Поршень Под заказ -
6
80-4216119-Б Шток Под заказ -
7
80-3405038 Пробка технологическая Под заказ -
8
М12-6Н.5.019 Гайка Под заказ -
9
045-050-30-2-2 Кольцо Под заказ -
10
12 ОТ Шайба Под заказ -
11
15,54x2,62 DBS/AS MS29513 Кольцо Под заказ -
12
016-020-25-1-4 Кольцо Под заказ -
Содержащиеся в справочниках-каталогах запасные части и детали не предлагаются к продаже, а носят исключительно информационный характер


Наши преимущества