Каталог запасных частей к технике: МТЗ-2103. Каток опорный

Каток опорный

zoom-in zoom-out enlarge shrink circle-right circle-left file-text2 info cart
1
2
2
3
4
5
6
7
8
Изображение Артикул товара Наименование Наличие Единица измерения Количество Цена Корзина
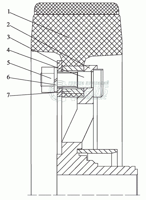
1
2103-3204250 Каток опорный Под заказ -
2
6370000.01 Шина массивная Под заказ -
3
2102-3204 020 Ступица Под заказ -
4
6370000.02 Фланец Под заказ -
5
2103-3204 013 Болт Под заказ -
6
M16x1,5-6H. 10.019 Гайка Под заказ -
7
4598166010 Шайба 16Л Под заказ -
8
6370000.03 Втулка 4220001-0013 Под заказ -
Содержащиеся в справочниках-каталогах запасные части и детали не предлагаются к продаже, а носят исключительно информационный характер


Наши преимущества