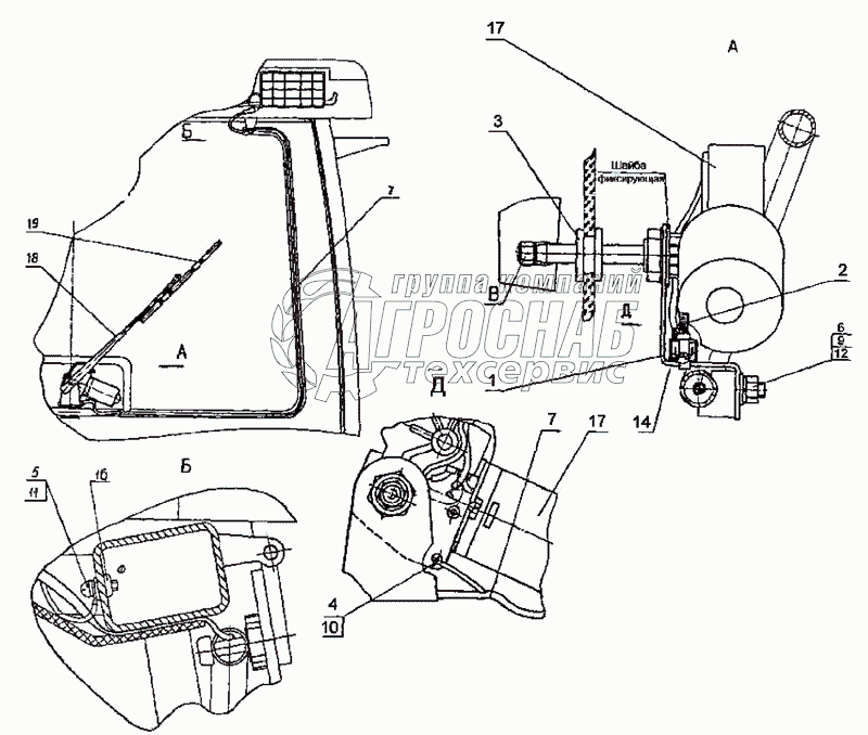
Каталог запасных частей к технике: МТЗ-2522. Установка заднего стеклоочистителя

Установка заднего стеклоочистителя

zoom-in zoom-out enlarge shrink circle-right circle-left file-text2 info cart
1
2
3
4
5
6
7
7
8
9
10
11
12
13
14
14
15
16
Изображение Артикул товара Наименование Наличие Единица измерения Количество Цена Корзина
1
923-5205022 Кронштейн Под заказ -
2
80-3723045-01 Манжета Под заказ -
3
822-5205043 Втулка Под заказ -
4
B.M4-6gx12.58.019 Винт Под заказ -
5
B.M6-6gx12.58.019 Винт Под заказ -
6
М8-6Н.6.019 Гайка В наличии шт 1 ₽1 ₽
7
С8.01.019 Шайба Под заказ -
8
923-3724014-Б Жгут Под заказ -
9
4 Шайба ОСТ 37.001.115-75 Под заказ -
10
Шайба Под заказ -
11
Шайба Под заказ -
12
602602 Колодка гнездовая Под заказ -
13
1.М6-7Нх16.0-10.Ц6.хр Заклепка-гайка Под заказ -
14
475.3730000 Моторедуктор Под заказ -
15
20.5215300 Рычаг стеклоочистителя Под заказ -
16
20.5215400 Щетка стеклоочистителя Под заказ -
Содержащиеся в справочниках-каталогах запасные части и детали не предлагаются к продаже, а носят исключительно информационный характер


Наши преимущества