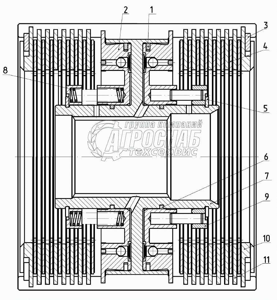
Каталог запасных частей к технике: МТЗ-3522. Фрикцион

Фрикцион

zoom-in zoom-out enlarge shrink circle-right circle-left file-text2 info cart
1
2
3
4
5
6
7
8
9
10
11
12
Изображение Артикул товара Наименование Наличие Единица измерения Количество Цена Корзина
1
3522-1701080 Фрикцион Под заказ -
2
80-1701382 Кольцо Под заказ -
3
3522-1701380 Поршень Под заказ -
4
Кольцо185DIN472:1981 Кольцо стопорное 185 DIN 472: 1981 Под заказ -
5
80-1701375 Диск ведомый В наличии шт 1 538 ₽1 538 ₽
6
КольцоC80 Кольцо C80 Под заказ -
7
142-1701381 Кольцо Под заказ -
8
3022-1701371-Б Барабан Под заказ -
9
2522-1701395 Пружина Под заказ -
10
3522-1701385 Опора пружины Под заказ -
11
2822-1701379 Диск упорный Под заказ -
12
LD2220087 Диск ведущий Под заказ -
Содержащиеся в справочниках-каталогах запасные части и детали не предлагаются к продаже, а носят исключительно информационный характер


Наши преимущества