Каталог запасных частей к технике: МТЗ-3522. Кран

Кран

zoom-in zoom-out enlarge shrink circle-right circle-left file-text2 info cart
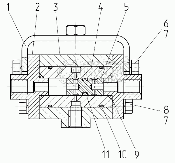
1
2
3
4
5
6
7
8
8
9
10
11
12
Изображение Артикул товара Наименование Наличие Единица измерения Количество Цена Корзина
1
2822-1602100-Б Кран Под заказ -
2
2822-1602110 Кронштейн Под заказ -
3
2822-1602103-Б Крышка Под заказ -
4
2822-1602101-Б Корпус Под заказ -
5
2822-1602102 Корпус Под заказ -
6
2822-1602104 Поршень Под заказ -
7
БолтМ6-6gх25.58.35.019 Болт Под заказ -
8
Шайба6Т Шайба Под заказ -
9
БолтМ6-6gх20.88.35.019 Болт Под заказ -
10
OREPDM7001150250 Кольцо Под заказ -
11
OREPDM7002500200 Кольцо Под заказ -
12
OREPDM7000800250 Кольцо Под заказ -
Содержащиеся в справочниках-каталогах запасные части и детали не предлагаются к продаже, а носят исключительно информационный характер


Наши преимущества