| № | Изображение | Артикул товара | Наименование | Наличие | Единица измерения | Количество | Цена | Корзина | |
|---|---|---|---|---|---|---|---|---|---|
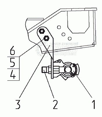
| 1 | 1025-3521510 | Головка соединительная | Под заказ | - | |||||
| 2 | 64226-3521111 | Головка соединительная | Под заказ | - | |||||
| 3 | 1522-3521513 | Штуцер | Под заказ | - | |||||
| 4 | 1025-3521512 | Кронштейн | Под заказ | - | |||||
| 5 | B.M8-6gx25.58.019 | Винт | Под заказ | - | |||||
| 6 | M8-6H.6.019 | Гайка | Под заказ | - | |||||
| 7 | 8Т | Шайба | Под заказ | - |