Каталог запасных частей к технике: Бобруйскагромаш РУ-3000. Вал промежуточный (в сборе)

Вал промежуточный (в сборе)

zoom-in zoom-out enlarge shrink circle-right circle-left file-text2 info cart
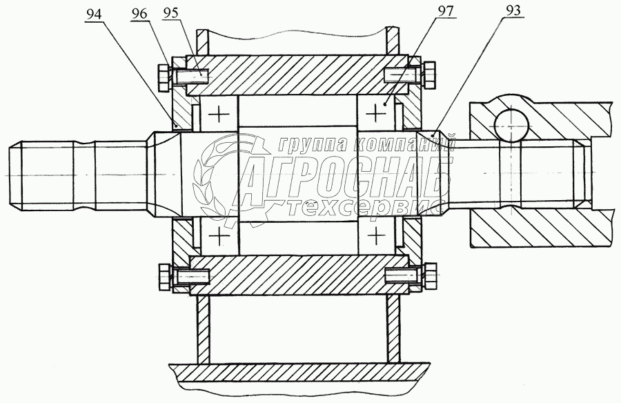
1
2
3
4
5
Изображение Артикул товара Наименование Наличие Единица измерения Количество Цена Корзина
1
ШТ-3000.00.00.601 Вал промежуточный Под заказ -
2
ШТ-3000.00.00.401 Крышка Под заказ -
3
М8-6gх20.58.019 ГОСТ 7798-70 Болт Под заказ -
4
8.65Г.05 ГОСТ 6402-70 Шайба Под заказ -
5
80209 ГОСТ 7242-81 Подшипник Под заказ -
Содержащиеся в справочниках-каталогах запасные части и детали не предлагаются к продаже, а носят исключительно информационный характер


Наши преимущества